Product Summary
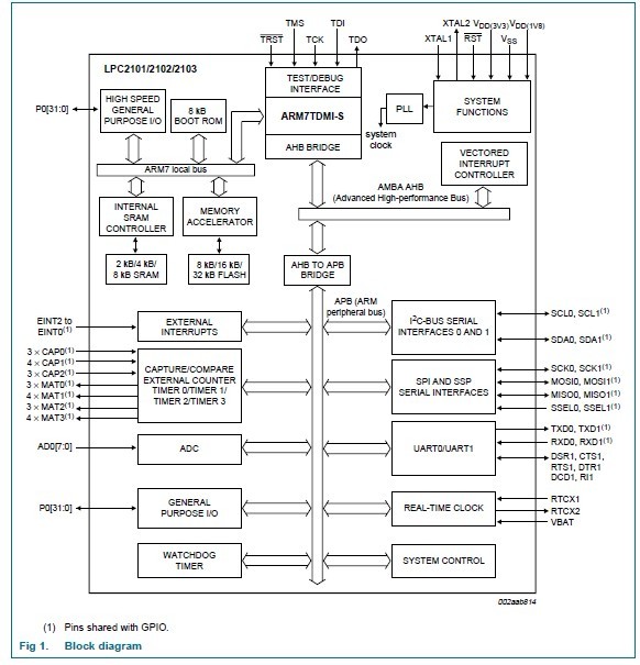
The LPC2103FBD48 microcontroller is based on a 16-bit/32-bit ARM7TDMI-S CPU with real-time emulation that combines the microcontroller with 8 kB, 16 kB or 32 kB of embedded high-speed flash memory. A 128-bit wide memory interface and a unique accelerator architecture enable 32-bit code execution at the maximum clock rate. For critical performance in interrupt service routines and DSP algorithms, this increases performance up to 30 % over Thumb mode. For critical code size applications, the alternative 16-bit Thumb mode reduces code by more than 30 % with minimal performance penalty. Due to their tiny size and low power consumption, the LPC2103FBD48 is ideal for applications where miniaturization is a key requirement. A blend of serial communications interfaces ranging from multiple UARTs, SPI to SSP and two I2C-buses, combined with on-chip SRAM of 2 kB/4 kB/8 kB, make the LPC2103FBD48 very well suited for communication gateways and protocol converters. The superior performance also makes the LPC2103FBD48 suitable for use as math coprocessors. Various 32-bit and 16-bit timers, an improved 10-bit ADC, PWM features through output match on all timers, and 32 fast GPIO lines with up to nine edge or level sensitive external interrupt pins make the LPC2103FBD48 particularly suitable for industrial control and medical systems.
Parametrics
LPC2103FBD48 absolute maximum ratings: (1)VDD(1V8) supply voltage (1.8 V): -0.5 to +2.5 V; (2)VDD(3V3) supply voltage (3.3 V): -0.5 +4.6 V; (3)VDDA analog 3.3 V pad supply voltage: -0.5 +4.6 V; (4)Vi(VBAT) input voltage on pin VBAT for the RTC: -0.5 to +4.6 V; (5)VIA analog input voltage: -0.5 to +5.1 V; (6)VI input voltage: -0.5 to +6.0 V; -0.5 to VDD + 0.5V; (7)IDD supply current: 100 mA; (8)ISS ground current: 100[9] mA; (9)Tstg storage temperature: -65 to +150℃; (10)Ptot(pack) total power dissipation (per package): 1.5 W; (11)VESD electrostatic discharge voltage: -4000 to +4000 V.
Features
LPC2103FBD48 features: (1)Deep power-dowmode with optioto retaiSRAM memory and/or RTC; (2)Three levels of flash Code Read Protectio(CRP) implemented; (3)16-bit/32-bit ARM7TDMI-S microcontroller itiny LQFP48 and HVQFN48 packages; (4)2 kB/4 kB/8 kB of on-chip static RAM and 8 kB/16 kB/32 kB of on-chip flash program memory. 128-bit wide interface/accelerator enables high-speed 70 MHz operation; (5)ISP/IAP via on-chip bootloader software. Single flash sector or full chip erase i100 ms and programming of 256 bytes i1 ms; (6)EmbeddedICE-RT offers real-time debugging with the on-chip RealMonitor software; (7)The 10-bit ADC provides eight analog inputs, with conversiotimes as low as 2.44 ms per channel and dedicated result registers to minimize interrupt overhead; (8)Two 32-bit timers/external event counters with combined sevecapture and sevecompare channels; (9)Two 16-bit timers/external event counters with combined three capture and sevecompare channels; (10)Low power Real-Time Clock (RTC) with independent power and dedicated 32 kHz clock input; (11)Multiple serial interfaces including two UARTs (16C550), two Fast I2C-buses (400 kbit/s), SPI and SSP with buffering and variable data length capabilities; (12)Vectored interrupt controller with configurable priorities and vector addresses; (13)Up to thirty-two, 5 V tolerant fast general purpose I/O pins; (14)Up to 13 edge or level sensitive external interrupt pins available; (15)70 MHz maximum CPU clock available from programmable on-chip PLL with a possible input frequency of 10 MHz to 25 MHz and a settling time of 100 ms; (16)On-chip integrated oscillator operates with aexternal crystal ithe range from 1 MHz to 25 MHz; (17)Power saving modes include Idle mode, Power-dowmode with RTC active, and Power-dowmode; (18)Individual enable/disable of peripheral functions as well as peripheral clock scaling for additional power optimization; (19)Processor wake-up from Power-dowand Deep power-dow(RevisioA and higher) mode via external interrupt or RTC.
Diagrams

| Image | Part No | Mfg | Description | ![]() |
Pricing (USD) |
Quantity | ||||||||||||
|---|---|---|---|---|---|---|---|---|---|---|---|---|---|---|---|---|---|---|
![]() |
![]() LPC2103FBD48,118 |
![]() NXP Semiconductors |
![]() ARM Microcontrollers (MCU) 32K FL/8K RAM/8CH |
![]() Data Sheet |
![]()
|
|
||||||||||||
![]() |
![]() LPC2103FBD48,151 |
![]() NXP Semiconductors |
![]() ARM Microcontrollers (MCU) ARM7 32KF/8KR/10BADC |
![]() Data Sheet |
![]()
|
|
||||||||||||
![]() |
![]() LPC2103FBD48-T |
![]() NXP Semiconductors |
![]() ARM Microcontrollers (MCU) 32K FL/8K RAM/8CH 10-B ADC |
![]() Data Sheet |
![]() Negotiable |
|
||||||||||||
(China (Mainland))










